Trailing Arm Bonded Rubber Bushing
Trailing Arm Bonded Rubber Bushing
Special tools, testers and auxiliary items required
• Assembly tool (T10230)
• Installation device (3372)
• Thrust plate (VW 401)
• Thrust plate (VW 402)
Pressing Out the Bonded Rubber Bushing
- Remove trailing arm. Refer to => [ Trailing Arm with Mounting Bracket ] Trailing Arm With Mounting Bracket.
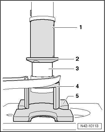
- Install tools as shown in the illustration.

1. Tube (T10230/3)
2. Thrust piece (T10230/10)
3. (3372)
4. (VW 401)
5. (VW 402)
- Press out the bonded rubber mount.
Pressing In the Bonded Rubber Bushing
- Place trailing arm on a level surface.

Dimension - A - = 114 mm.
- Mark a vertical line onto bushing of trailing arm.
After being installed, the line on the trailing arm bushing must be between the protrusions - 1 - on the bonded rubber bushing.

- Install tools as shown in the illustration.

1. Tube (T10230/5)
2. Thrust plate (T10230/12) , chamfer must point to bonded rubber bushing
3. Bonded rubber mount
4. (3372)
5. (VW 402)
- Press in bonded rubber bushing flush.
- Install mounting bracket on trailing arm. Refer to => [ Determining Installation Position of Mounting Bracket Relative to Trailing Arm ] Trailing Arm With Mounting Bracket.
- Install trailing arm. Refer to Trailing Arm With Mounting Bracket.