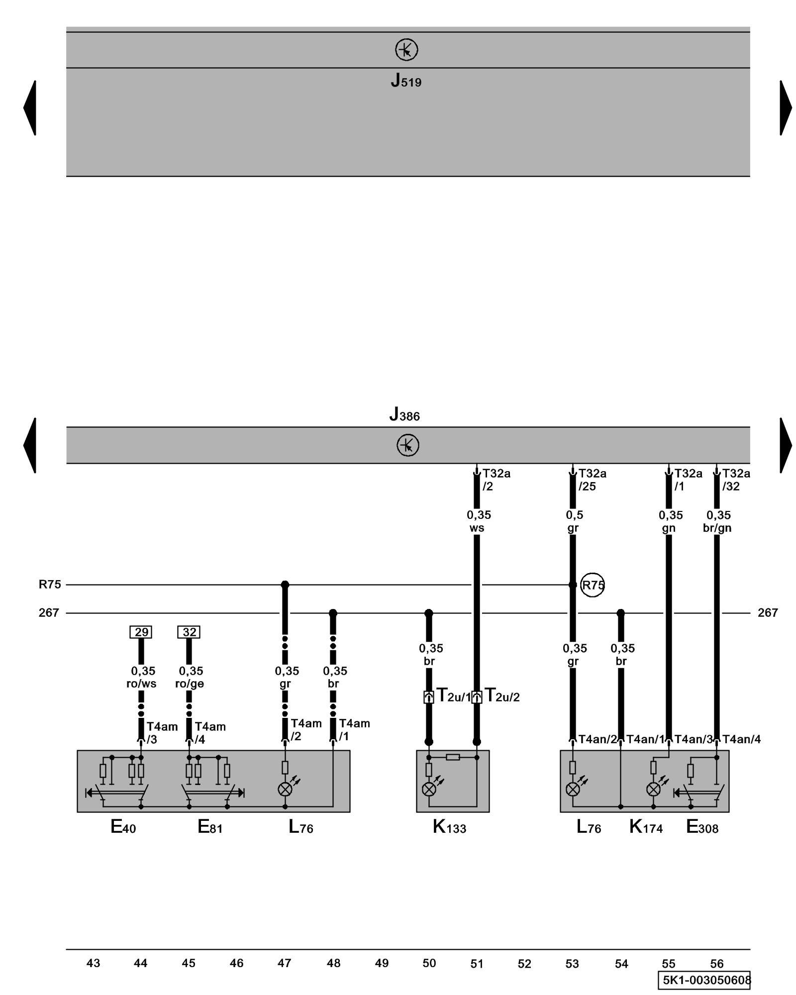
Diagram 3/5 (Tracks 43-56)
IMPORTANT NOTE:
This manufacturer uses "Track" style wiring diagrams.
For information on how to use these diagrams effectively, please refer to Diagram Information and Instructions. Diagram Information and Instructions
Driver's Door Control Module, Driver's Right Left and Right Front Window Regulator Switch, Central Locking -SAFE- Indicator Lamp, Driver's Interior Locking Button

ws = white
sw = black
ro = red
br = brown
gn = green
bl = blue
gr = grey
li = lilac
ge = yellow
or = orange
rs = pink
E40 - Left Front Window Regulator Switch
E81 - Driver's Right Front Window Regulator Switch
E308 - Driver's Interior Locking Button
J386 - Driver's Door Control Module
J519 - Vehicle Electrical System Control Module Control modules in front part of vehicle - Overview of Control Modules
K133 - Central Locking -SAFE- Indicator Lamp Anti-Theft System
K174 - Driver's Interior Locking Indicator Lamp
L76 - Push Button Illumination
T2u - Double Connector, in driver's door
T4an - 4-Pin Connector
T4am - 4-Pin Connector
T32a - 32-Pin Connector
(R75) - Connection 1 (58d) (in door control module wiring harness)
-^^- - Only models without rear window regulator
Previous Diagram 3/4 (Tracks 29-42)
Next Diagram 3/6 (Tracks 57-70)