Operation CHARM: Car repair manuals for everyone.

Diagram 3/7 (Tracks 71-84)






IMPORTANT NOTE:
This manufacturer uses "Track" style wiring diagrams.
For information on how to use these diagrams effectively, please refer to Diagram Information and Instructions. Diagram Information and Instructions


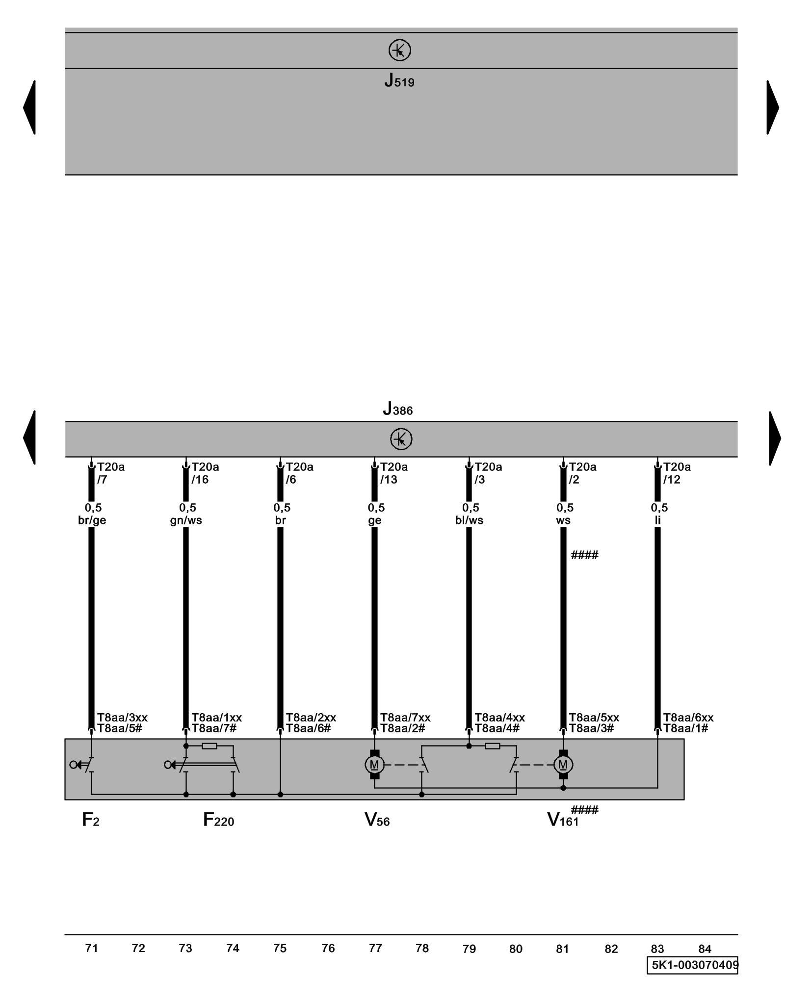
Driver's Door Control Module, Driver's Door Central Locking Lock Unit





ws = white
sw = black
ro = red
br = brown
gn = green
bl = blue
gr = grey
li = lilac
ge = yellow
or = orange
rs = pink

F2 - Driver's Door Contact Switch Locations

F220 - Driver's Door Central Locking Lock Unit Locations

J386 - Driver's Door Control Module

J519 - Vehicle Electrical System Control Module Control modules in front part of vehicle - Overview of Control Modules

T8aa - 8-Pin Connector

T20a - 20-Pin Connector

V56 - Driver's Door Central Locking System Motor

V161 - Driver's Door Central Locking (Safe) Motor

#### - Only models with -SAFE- Function

xx - Only left-hand drive vehicles

# - Only right-hand drive vehicles

Previous Diagram 3/6 (Tracks 57-70)

Next Diagram 3/8 (Tracks 85-98)