Operation CHARM: Car repair manuals for everyone.

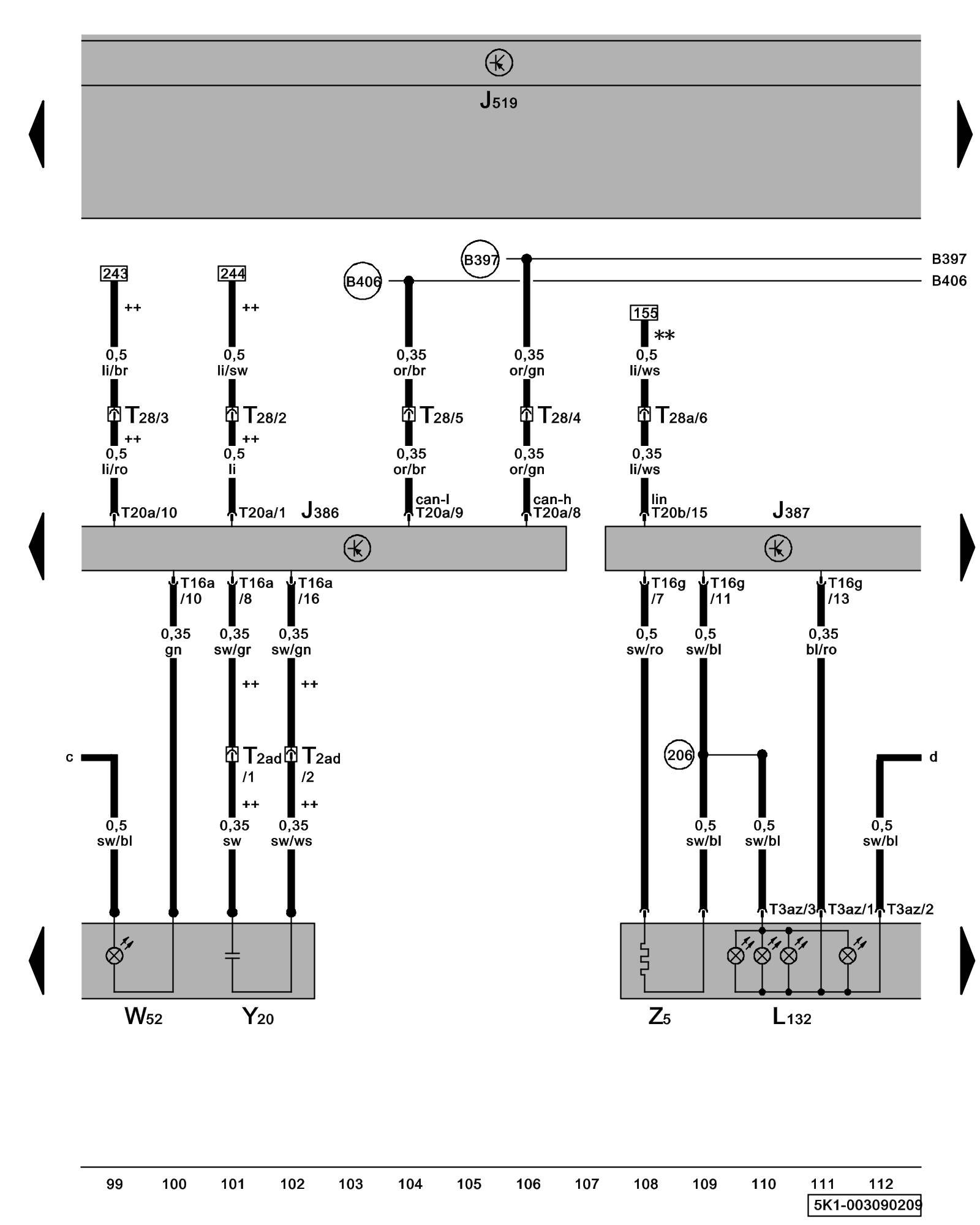
Diagram 3/9 (Tracks 99-112)






IMPORTANT NOTE:
This manufacturer uses "Track" style wiring diagrams.
For information on how to use these diagrams effectively, please refer to Diagram Information and Instructions. Diagram Information and Instructions


Driver's Entry Lamp (in outside mirror), Driver's Automatic Day/Night Outside Mirror, Front Passenger's Exterior Mirror Turn Signal, Front Passenger's Heated Outside Mirror





ws = white
sw = black
ro = red
br = brown
gn = green
bl = blue
gr = grey
li = lilac
ge = yellow
or = orange
rs = pink

J386 - Driver's Door Control Module

J387 - Front Passenger's Door Control Module Control modules in front part of vehicle - Overview of Control Modules

J519 - Vehicle Electrical System Control Module Control modules in front part of vehicle - Overview of Control Modules

L132 - Front Passenger's Exterior Mirror Turn Signal Lamp

T2ad - Double Connector, on mirror

T2ah - Double Connector

T3az - 3-Pin Connector

T16a - 16-Pin Connector

T16g - 16-Pin Connector

T20a - 20-Pin Connector

T20b - 20-Pin Connector

T28 - 28-Pin Connector, connector station A-pillar, left Overview of connector stations and connectors

T28a - 28-Pin Connector, connector station A-pillar, right Overview of connector stations and connectors

W52 - Driver's Entry Lamp (in outside mirror)

Y20 - Driver's Automatic Day/Night Outside Mirror

Z5 - Front Passenger's Heated Outside Mirror

(206) - Ground Connection (in Front Passenger's door wiring harness)

(B397) - Comfort System CAN-Bus High Connection 1 (in main wiring harness)

(B406) - Comfort System CAN-Bus Low Connection 1 (in main wiring harness)

++ - Only models with driver's automatic day/night outside mirror

** - Only models with rear window regulator

Previous Diagram 3/8 (Tracks 85-98)

Next Diagram 3/10 (Tracks 113-126)