Operation CHARM
: Car repair manuals for everyone.
Home
>>
Volkswagen
>>
2012
>>
Golf (5K1) L4-2.0L DSL Turbo (CJAA)
>>
Repair and Diagnosis
>>
Diagrams
>>
Connector Views
>>
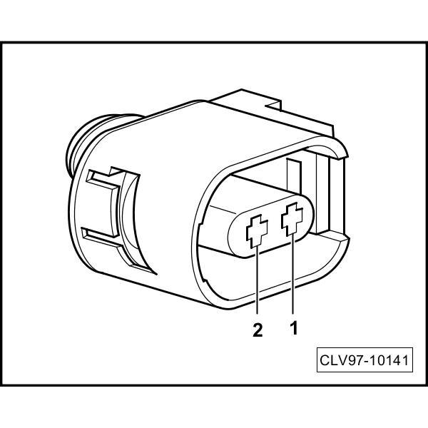
Wheel Speed Sensor
Wheel Speed Sensor
Anti-Lock Brake Systems - Connector Views
ABS wheel speed sensors
All
wheel speed sensors
connector cavities are similar
Wheel Speed Sensor