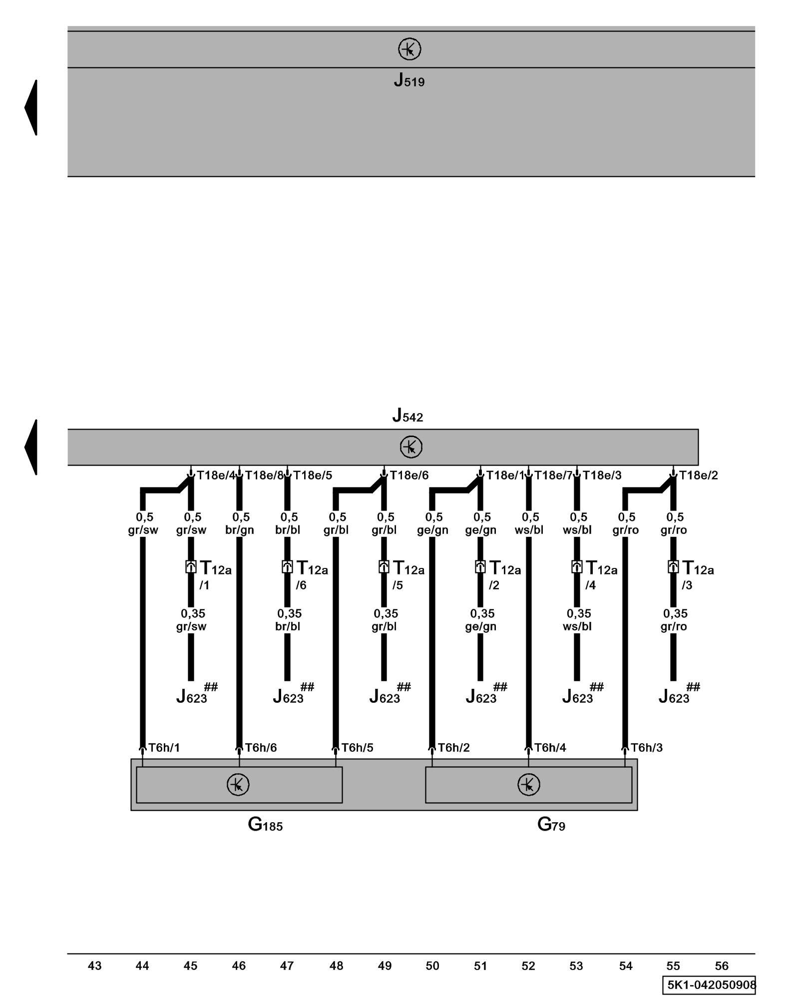
Diagram 42/5 (Tracks 43-56)
IMPORTANT NOTE:
This manufacturer uses "Track" style wiring diagrams.
For information on how to use these diagrams effectively, please refer to Diagram Information and Instructions. Diagram Information and Instructions
Decrease Engine Speed (RPM) Control Module, Throttle Position (TP) Sensor

ws = white
sw = black
ro = red
br = brown
gn = green
bl = blue
gr = grey
li = lilac
ge = yellow
or = orange
rs = pink
G79 - Throttle Position (TP) Sensor Accelerator Pedal Module Overview
G185 - Accelerator Pedal Position Sensor 2 Accelerator Pedal Module Overview
J519 - Vehicle Electrical System Control Module Control modules in front part of vehicle - Overview of Control Modules
J542 - Decrease Engine Speed (RPM) Control Module (in front left footwell)
J623 - Engine Control Module (ECM), in plenum chamber, center Control modules in front part of vehicle - Overview of Control Modules
T6h - 6-Pin Connector
T12a - 12-Pin Connector, blue, in front left footwell
T18e - 18-Pin Connector
## - => Wiring Diagram engine
Previous Diagram 42/4 (Tracks 29-42)