Operation CHARM: Car repair manuals for everyone.

Diagram 25/5 (Tracks 43-56)






IMPORTANT NOTE:
This manufacturer uses "Track" style wiring diagrams.
For information on how to use these diagrams effectively, please refer to Diagram Information and Instructions. Diagram Information and Instructions


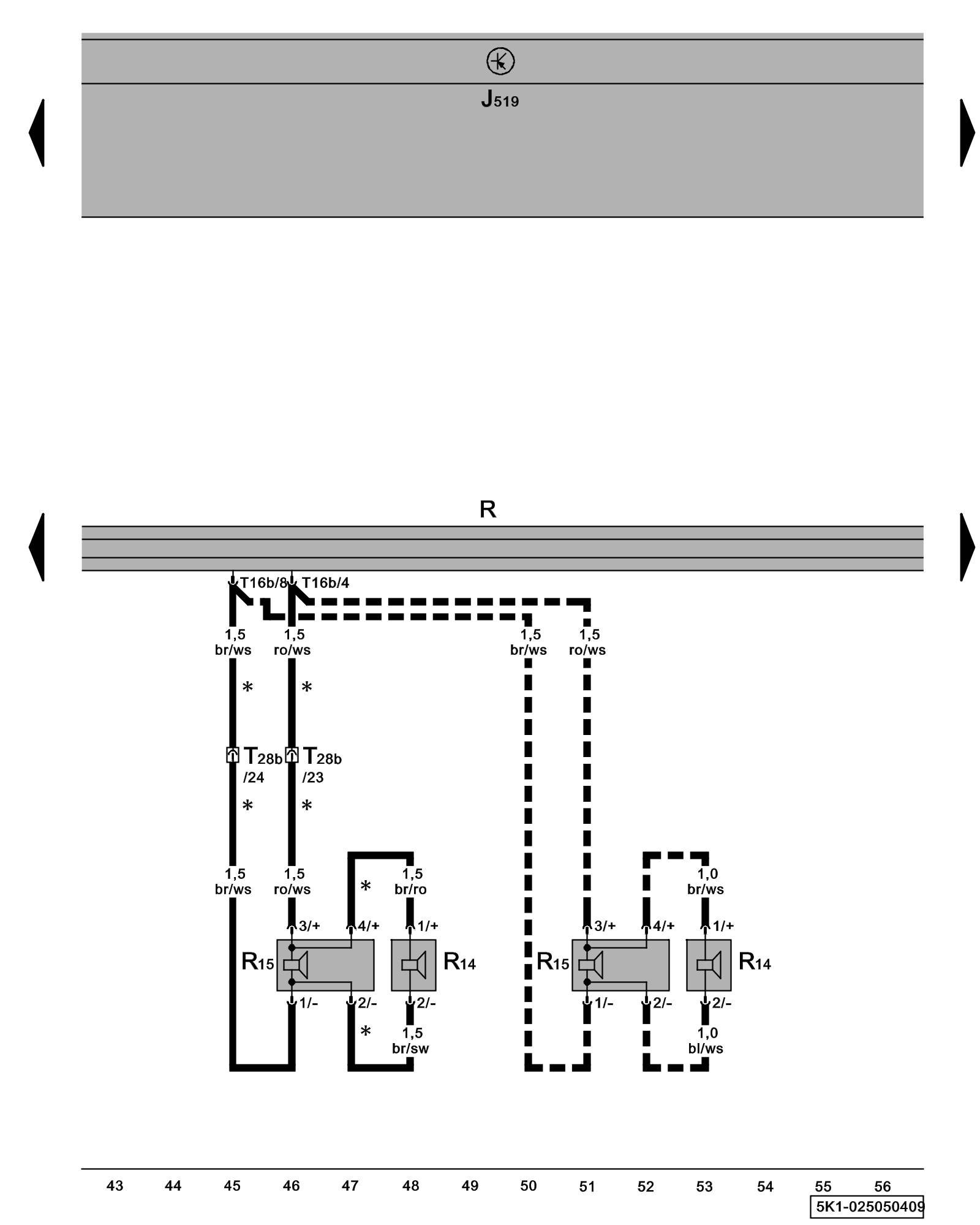
Radio, Left Rear Speaker





ws = white
sw = black
ro = red
br = brown
gn = green
bl = blue
gr = grey
li = lilac
ge = yellow
or = orange
rs = pink

J519 - Vehicle Electrical System Control Module Control modules in front part of vehicle - Overview of Control Modules

R - Radio
Locations

R14 - Left Rear Treble Speaker
Locations

R15 - Left Rear Bass Speaker
Locations

T16b - 16-Pin Connector

T28b - 28-Pin Connector, connector station B-pillar, left Overview of connector stations and connectors

* - Only 4-door models with rear speaker

--- - Only 2-door models with rear speaker

Previous Diagram 25/4 (Tracks 29-42)

Next Diagram 25/6 (Tracks 57-70)