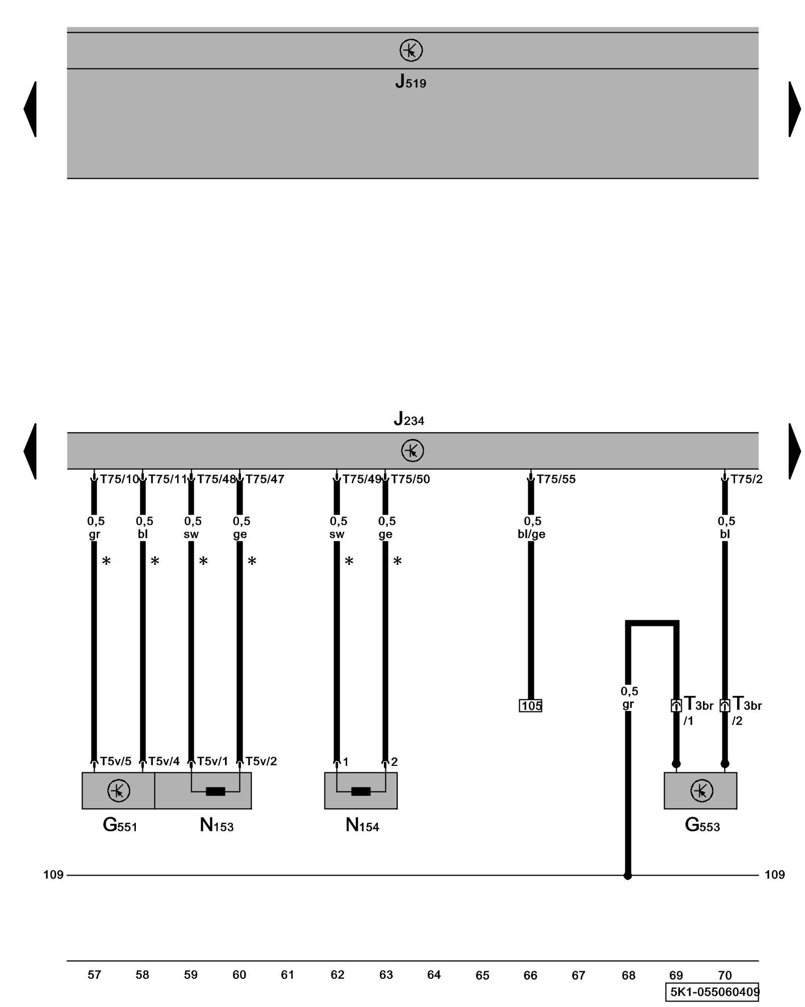
Diagram 55/6 (Tracks 57-70)
IMPORTANT NOTE:
This manufacturer uses "Track" style wiring diagrams.
For information on how to use these diagrams effectively, please refer to Diagram Information and Instructions. Diagram Information and Instructions
Airbag Control Module, Driver Belt Force Limiter, Safety Belt Tensioner Igniter, Safety Belt Switch, Driver Seat Position Sensor

ws = white
sw = black
ro = red
br = brown
gn = green
bl = blue
gr = grey
li = lilac
ge = yellow
or = orange
rs = pink
G551 - Driver Belt Force Limiter Locations
G553 - Driver Seat Position Sensor [1][2]Diagrams
J234 - Airbag Control Module, behind lower console Control modules in front part of vehicle - Overview of Control Modules
J519 - Vehicle Electrical System Control Module Control modules in front part of vehicle - Overview of Control Modules
N153 - Driver's Safety Belt Tensioner Igniter 1 Locations Driver Seat Belt Tensioner Igniter 1 -N153-
N154 - Front Passenger's Safety Belt Tensioner Igniter 1 Locations Front Pass Seat Belt Tensioner Igniter 1 -N154-
T3br - 3-Pin Connector, below driver's seat
T5v - 5-Pin Connector
T75 - 75-Pin Connector
* - Only models with front safety belt tensioner
Previous Diagram 55/5 (Tracks 43-56)
Next Diagram 55/7 (Tracks 71-84)