Operation CHARM
: Car repair manuals for everyone.
Home
>>
Volkswagen
>>
2012
>>
Golf (5K1) L4-2.0L DSL Turbo (CJAA)
>>
Repair and Diagnosis
>>
Specifications
>>
Mechanical Specifications
>>
Engine
>>
Cylinder Head Assembly
>>
Valve, Intake/Exhaust
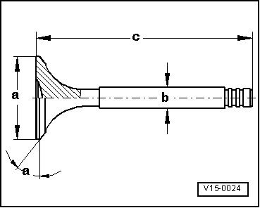
Valve, Intake/Exhaust
Valve Dimensions
•
The valves must not be reground. Only hand lapping is permitted.