Operation CHARM: Car repair manuals for everyone.

Brake Hose/Line: Description and Operation






Brake Lines

=> [ Repairing ]

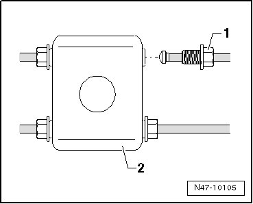
Separating Point, Underbody

Old Connection





1. Fitting, 14 Nm

2. Connection, counter-hold while tightening.


New Connection:





1. Fitting, 14 Nm

2. Ring

3. Flare F

4. Flare E, not flareable

5. Nut, counter-hold when tightening


Repairing

Flare the brake lines with a 5 mm outer diameter using the flaring tool (VAS 6056) without damaging the coating. In this way, the brake lines can be inexpensively partially replaced in certain cases.

Work with brake line kit (V.A.G 1356) is not permitted because of the coating and diameter of the black brake lines.

Do not bend the brake lines more than a maximum of 90°. Otherwise they kink or deform causes unacceptable constriction in the line.

Disconnect the brake lines preferably at the vehicle underbody.

Position of intermediate pieces should be selected so that they cannot rub against moving parts.

Do not lubricate the spindle, clean only with mineral spirits.

Special tools, testers and auxiliary items required

Flaring Tool (VAS 6056)

Brake Charger/Bleeder Unit (VAS 5234)

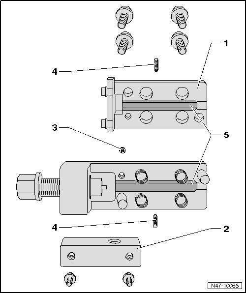
Listing of Individual Tools






1 Flanging Tool (VAS 6056/1)

The clamp jaws (VAS 6056/6) are installed in the flanging tool (VAS 6056/1).

2 Pipe Cutter (VAS 6056/2)

3 Brake Line Scraper (VAS 6056/3)

The threaded pins (in the shaft and at the sides) are set and must not be adjusted!

4 Set of Grips with Plastic Jaws (VAS 6056/4)

5 Pipe Bending Tool (VAS 6056/5)

6 Angle Head Drive AF 6

7 Clamp Jaws (VAS 6056/7)






1 Upper Part of Flanging Tool

Remove to change the jaws.

2 Hand Grip Mount

Must be removed to reach the upper section retaining bolt.

3 Bolt

For the upper part of the flanging tool.

4 Flanging Jaws Threaded Pins

Centers and hold the jaws.

2 mm hex socket head.

5 Clamping Jaws

Various

Assembly instructions, refer to => [ Clamping Jaws Assembly Instructions ].

Clamping Jaws Assembly Instructions





(VAS 6056/6) (dark) for black brake lines

(VAS 6056/7) (light) for green brake lines

The arrow on the rounded side for the clamping jaws must point toward the edge of the housing. The straight side of the clamping jaws must be installed toward the spindle, otherwise the flared head will not be formed correctly.

Instructions

- Remove the affected brake line at the brake caliper or the wheel cylinder and collect any leaking brake fluid and dispose of it correctly.

- Disconnect the brake line at the appropriate location (straight, accessible part) with the pipe cutter - 2 -.






- Remove the piece to be exchanged.

- Lubricate the brake line surface.

- Clamp the brake line in the set of grips with plastic jaws - 4 - so that 50 mm of the plastic clamping jaws show.






- Clamp the brake line scraper - 3 - in a drill and place it on the brake line.

- Scrape the coating from the brake line at a slow drill speed and with light pressure against the line.

The length of the scraped-off portion is determined by the stop in the scraping tool.

- Remove the scraping tool from the brake line and remove scraping remains.

- Remove the set of grips with plastic jaws and the fitting - D - from the brake line.






- Slide the brake line - B - against the stop - A - in the flanging tool.






The brake line must contact the stop when the hex socket heat bolts are tightened, otherwise the flared head will not be formed correctly.

- Clamp the brake line in the flanging tool until it cannot be moved any more. Fold the stop - A - up and tighten the hex socket head bolts diagonally with the angle head drive AF 6 - C -.

- Turn the spindle to the stop in the flanging tool.






- Turn the spindle back.

- Loosen the hex socket head bolts diagonally.

- Remove the brake line from the flanging tool, clean and check the brake line and flared head.

Briefly rinse part of the brake line remaining in the vehicle.

- Connect the brake charger/bleeder unit (VAS 5234) , place the bleed hose on the flared head of the brake line and run the brake charger/bleeder unit (VAS 5234) briefly until some brake fluid runs through.

- Clean the brake line with compressed air.

- Join the brake lines with a connecting piece - E -.






- Assemble the brake line.

- Bleed the brake system. Refer to => [ Brake System, Bleeding ] Service and Repair.