Operation CHARM: Car repair manuals for everyone.

Control Arm Bushing: Service and Repair






Control Arm Bonded Rubber Bushing

Special tools, testers and auxiliary items required

Tube (T10219/1)

Drift (T10219/2)

Thrust plate (VW 402)

Punch (VW 411)

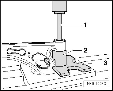
Pressing Out the Bonded Rubber Bushing

- Press out bonded rubber bushings as depicted in the illustration.






1 - (VW 411)

2 - (T10219/1)

3 - (VW 402)

Pressing In the Bonded Rubber Bushing

Bonded rubber bushing must be installed at an angle to prevent damaging it when pressing in. Bonded rubber bushing settles straight while pressing in.

- Apply installation lubricant (G 294 421 A1) onto outside of bonded rubber bushing.

- Place bonded rubber bushing on at an angle (in direction of control arm), when doing this the lip - arrow - must slip into hole as shown in the illustration.






1 - (T10219/2)

2 - (T10219/1)

3 - (VW 402)

- Press in bonded rubber bushings as far until core - 1 - and hole of control arm - 2 - are at the same height.






- Press back bearing slightly in control arm.






1 - (T10219/1)

2 - (VW 402)

Dimensions - a - and - b - must be identical.