Trailing Arm With Mounting Bracket
Trailing Arm with Mounting Bracket
Special tools, testers and auxiliary items required
• Torque wrench (V.A.G 1332)
Removing
- Remove the wheel.
- Remove coil spring. Refer to => [ Coil Spring ] Coil Spring.
- Remove bracket - 1 - by pressing out rivet inner pin - arrow -.

- Remove the coupling rod - 1 - from trailing arm.

- Remove bolts - Arrows -.
- Mark installation position of mounting bracket on body.
- Remove the bolts - arrows -.

- Remove trailing arm with mounting bracket.
If longitudinal control arm is being replaced, mounting bracket must be removed from longitudinal control arm.
Installation position of mounting bracket to longitudinal control arm must then be adjusted.
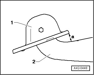
Determining Installation Position of Mounting Bracket Relative to Trailing Arm

Dimension - a - is 34 mm.
1 Mounting bracket
2 Trailing arm
- When dimension - a - has been adjusted, tighten bolt.
Installing
Installation is the reverse of removal, with special attention to the following:
Threaded connection of trailing arm/wheel bearing housing must only be tightened when all other components (spring and strut always) of the respective wheel suspension have been already assembled. To tighten, suspension must be unloaded. Only now do the trailing arm and wheel bearing housing move into the position required - arrows -.
- Install coil spring. Refer to => [ Coil Spring ] Coil Spring.
Position: Threaded Connection of Trailing Arm/Wheel Bearing Housing

Always perform the following work in the sequence given!
- Install trailing arm and mounting bracket with bolts - 2 - on wheel bearing housing but do not yet tighten.

- Insert coupling rod - 3 - in trailing arm, do not tighten nut yet.
- Raise wheel suspension using (V.A.G 1383 A) and (T10149) until mounting bracket makes contact on body.
- Tighten bolts - arrows - on old impression.

- Let down wheel suspension again using (V.A.G 1383 A) and remove (T10149) from wheel hub.
- Tighten bolts - 2 - for trailing arm to tightening specification, make sure components are in the required position when doing this.

- Connect the coupling rod - 1 - to the wheel bearing housing and stabilizer bar.

- Install bracket - 1 - by pressing in new rivet inner pin - arrow -.

• After installation, toe adjustment must be checked on alignment stand.
- Install coil spring. Refer to => [ Coil Spring ] Coil Spring.
- Install the wheel and tighten the wheel bolts. Refer to => [ Wheel Bolt Tightening Specification ] [1][2]Specifications.
- Perform vehicle alignment. Refer to => [ Wheel Alignment ] Wheel Alignment.
Tightening Specifications
