Collision Avoidance and Parking Assist Systems: Service and Repair
Parking Aid Mount, Installing
Tools
Special tools, testers and auxiliary items required
• Assembly tool for PDC-mount (VAS 6614)

• Hand pressure pistol (VAS 5155)

Materials

* Follow the manufacturer instructions supplied in the packaging.
* Observe minimum curing time => [ Minimum Curing Time ].
Mount, Installing
• After the bumper cover is painted, install the mount.

The 4 markings for the mount - 1 - are found on the inside of the bumper cover.
- Determine the central point - 2 -, if not already present.
- Drill the holes from inside outward with a tool set and supplied drill - 3 -.

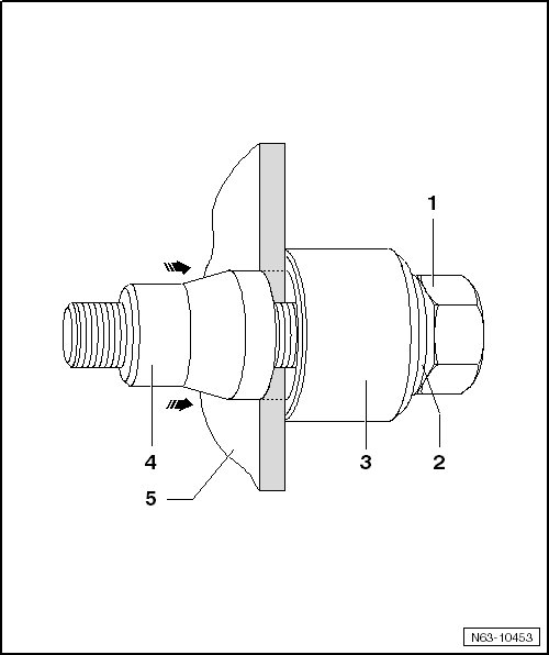
- Position the stamping holes with the bolt head - 1 -, washer - 2 - and counterholder- 3 - on the inside of the bumper cover - 5 -.
- Remove the iron punch - 4 - up to the bumper cover.
- Push the iron punch - 4 - on the bumper cover.
- Tighten the hole stamper - 1 -.
• The iron punch - 4 - cannot rotate on the bumper cover paint.
- By turning on the bolt head- 1 -, the iron punch - 4 - is pulled through the bumper cover material - 5 - - arrows -.
- Remove the hole stamper and stamp the next hole.
- Always clean the bumper cover and the mount thoroughly with cleaning solution.
• Apply no more that approximately 1 cm of adhesive to the top.

- Lightly grind the inside of the bumper cover - 6 - and thoroughly clean it.
- Thinly apply the bonding agent for the plastic to the bumper cover and mount and let it set for 10 minutes.
- Slide the mount - 8 - onto the centering drift - 1 - and push through the bumper cover - 6 -.
- Remove the counterholder - 4 - and lightly tighten the knurled nut - 5 -.
- Remove the clamping clip - 3 - and position the knurled nut - 2 -, do not tighten.
- All the mounts are prepared in this way.
• The adhesive cannot run up to the bend.
- Apply adhesive as shown in the illustration and tighten the knurled nut - 2 -.
- Remove all of the centering drifts after the minimum curing time, for minimum curing time refer to=> [ Minimum Curing Time ]
Minimum Curing Time
Wait 30 minutes for the minimum curing time before performing any further work on the bumper cover and the mount.
The bumper cover must stay in place and may not be moved during this time.