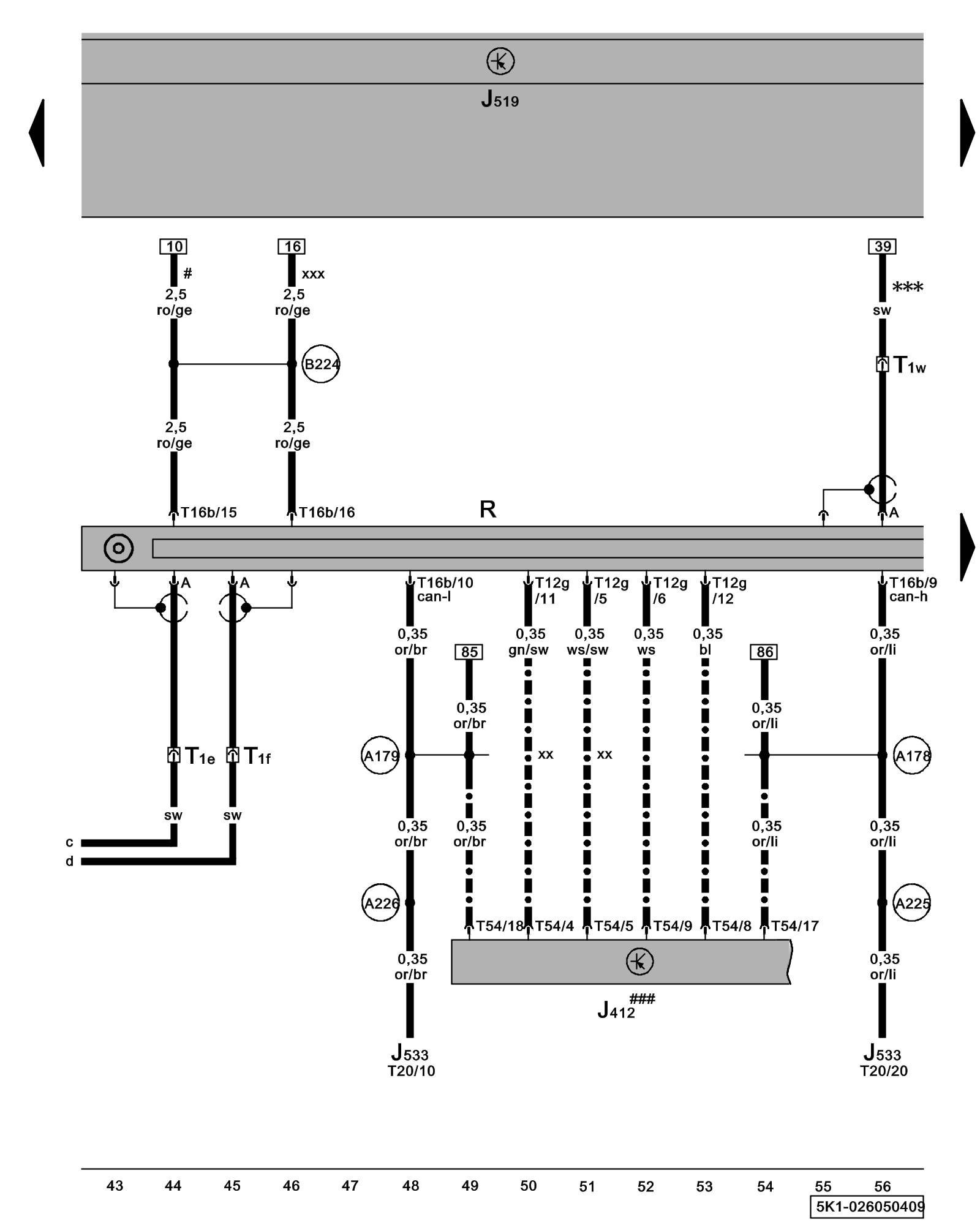
Diagram 26/5 (Tracks 43-56)
IMPORTANT NOTE:
This manufacturer uses "Track" style wiring diagrams.
For information on how to use these diagrams effectively, please refer to Diagram Information and Instructions. Diagram Information and Instructions
Radio, Operating Electronics and Telephone Control Module

ws = white
sw = black
ro = red
br = brown
gn = green
bl = blue
gr = grey
li = lilac
ge = yellow
or = orange
rs = pink
J412 - Operating Electronics and Telephone Control Module Control Modules in The Rear Of The Vehicle
J519 - Vehicle Electrical System Control Module Control modules in front part of vehicle - Overview of Control Modules
J533 - Data Bus On Board Diagnostic Interface Control modules in front part of vehicle - Overview of Control Modules
R - Radio
Locations
T1e - Single Connector, behind right C-pillar trim Overview of connector stations and connectors
T1f - Single Connector, behind right C-pillar trim Overview of connector stations and connectors
T1w - Single Connector, behind right C-pillar trim
T12g - 12-Pin Connector
T16b - 16-Pin Connector
T20 - 20-Pin Connector
T54 - 54-Pin Connector
(A178) - Infotainment High-Bus Connection (in instrument panel wiring harness)
(A179) - Infotainment Low-bus Connection (in instrument panel wiring harness)
(A225) - Infotainment High-Bus Connection 2 (in instrument panel wiring harness)
(A226) - Infotainment Low-bus Connection 2 (in instrument panel wiring harness)
(B224) - Radio Connection 1 (in interior wiring harness)
### - Components not available on system preparation
-^- - Only models with telephone/ telephone preparation
*** - Only Digital Radio Antenna
xx - Only Universal Cellular Telephone Preparation (UHV) Low
# - Only models without stop/start system
xxx - Only models with stop/start system
Previous Diagram 26/4 (Tracks 29-42)
Next Diagram 26/6 (Tracks 57-70)