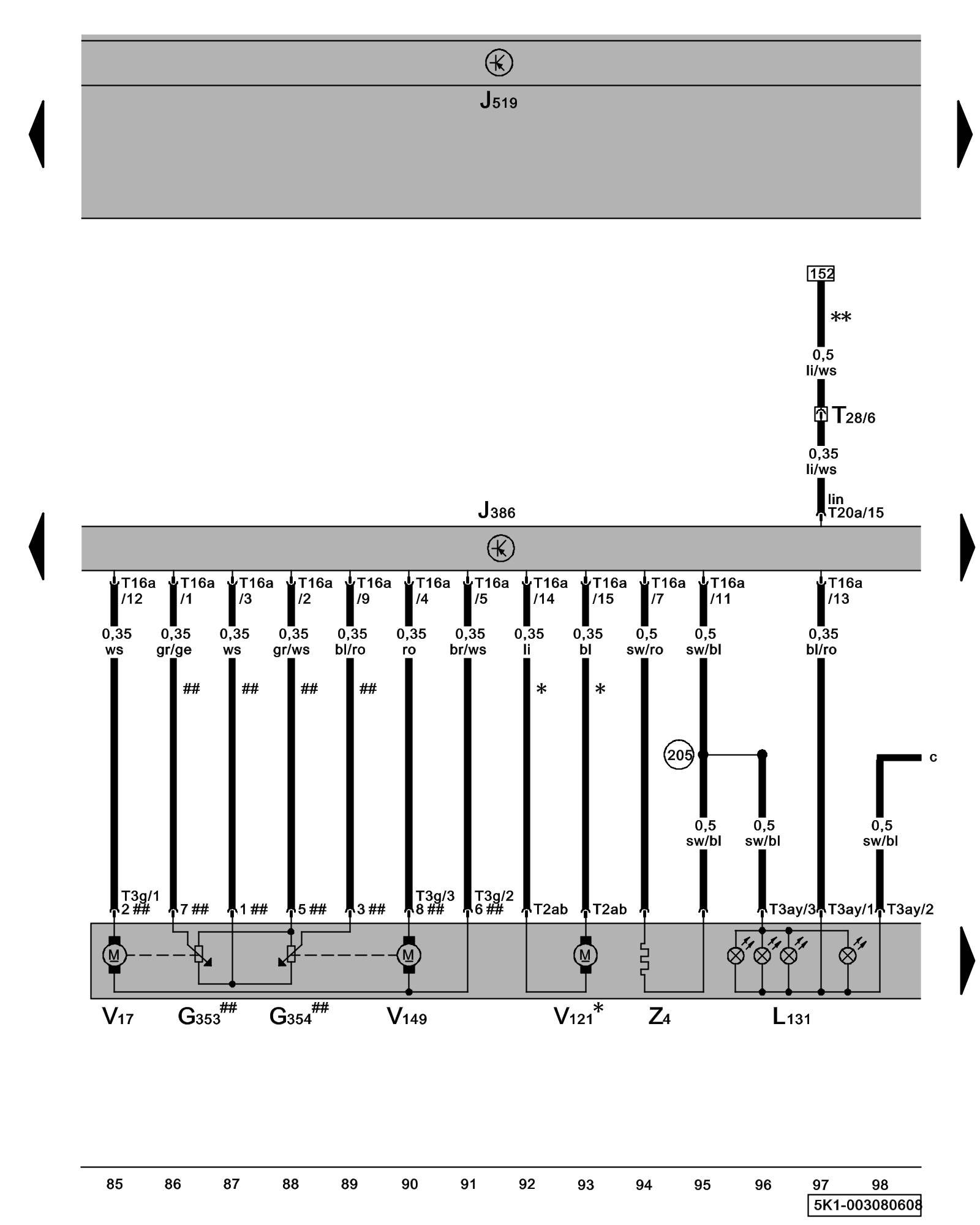
Diagram 3/8 (Tracks 85-98)
IMPORTANT NOTE:
This manufacturer uses "Track" style wiring diagrams.
For information on how to use these diagrams effectively, please refer to Diagram Information and Instructions. Diagram Information and Instructions
Driver's Door Control Module, Driver's Mirror Adjustment and Mirror Fold-in Motor, Driver's Exterior Mirror Turn Signal

ws = white
sw = black
ro = red
br = brown
gn = green
bl = blue
gr = grey
li = lilac
ge = yellow
or = orange
rs = pink
G353 - Interior Mirror Horizontal Position Sensor
G354 - Interior Mirror Vertical Position Sensor
J386 - Driver's Door Control Module
J519 - Vehicle Electrical System Control Module Control modules in front part of vehicle - Overview of Control Modules
L131 - Driver's Exterior Mirror Turn Signal Lamp
T2ab - Double Connector
T2ac - Double Connector
T3ay - 3-Pin Connector
T3g - 3-Pin Connector
T16a - 16-Pin Connector
T20a - 20-Pin Connector
T28 - 28-Pin Connector, connector station A-pillar, left Overview of connector stations and connectors
V17 - Driver's Mirror Adjustment Motor
V121 - Driver's Mirror Fold-in Motor
V149 - Driver's Mirror Adjustment Motor
Z4 - Driver's Heated Outside Mirror
(205) - Ground Connection (in Driver's door wiring harness)
* - Only models with fold-in mirrors
## - Only models with Automatic Mirror Adjustment
** - Only models with rear window regulator
Previous Diagram 3/7 (Tracks 71-84)
Next Diagram 3/9 (Tracks 99-112)