Valvetrain Overview
Valvetrain Overview
• The cylinder head and the cylinder head cover must be replaced together.
• Do not start the engine for approximately 30 minutes after installing the camshafts. The hydraulic equalization elements must seat themselves (otherwise the valves will crash into the pistons).
• After working on the valvetrain and lifters, carefully rotate the crankshaft by hand at least 2 full revolutions before starting to be sure that valves do not strike the pistons.
• Always replace the gaskets and seals.

1 Exhaust Valve
• Do not grind, only hand lapping is permitted.
• Valve dimensions, refer to => [ Valve Dimensions ].
• Checking the valve guides. Refer to => [ Valve Guide, Checking ] Testing and Inspection.
2 Cylinder Head
3 Valve Guide
• Checking, refer to => [ Valve Guide, Checking ] Testing and Inspection.
4 Valve Stem Seal
5 Valve Spring
6 Valve Spring Plate
7 Valve Retainers
8 Roller Rocker Arm with Hydraulic Lash Adjuster
• Do not interchange.
• Lubricate the contact surfaces.
9 Exhaust Camshaft
• Check the radial clearance using Plastigage(R) (roller rocker arms are removed).
• Radial clearance at bearing - 24 mm diameter:
0.024 to 0.066 mm
• Radial clearance at bearing - 32 mm diameter:
0.030 to 0.051 mm
• Run out: maximum:
0.04 mm
• Removing and installing, refer to => [ Camshaft ] Service and Repair.
10 Cylinder Head Cover
• With integrated camshaft bearings.
• Clean the sealing surface, reworking is not permitted.
• Remove any old sealant residue.
11 Bolt
• Always replace.
• Tightening sequence, refer to => [ Cylinder Head Cover Bolt Tightening Sequence ].
12 O-ring
• Always replace.
• Coat with engine oil.
13 Plug
14 Intake Camshaft
• Check the radial clearance using Plastigage(R) (roller rocker arms are removed).
• Radial clearance at bearing - 24 mm diameter:
0.024 to 0.066 mm
• Run out: maximum:
0.04 mm
• Removing and installing, refer to => [ Camshaft ] Service and Repair.
15 Cap
• Always replace.
• Removing: With the cylinder head cover installed, pierce through one side of the cap with an awl and pry it out.
• Installing: Without sealant, press in 1 to 2 mm using the thrust piece (3334).
16 Intake valve
• Do not grind, only hand lapping is permitted.
• Valve dimensions, refer to => [ Valve Dimensions ].
• Checking the valve guides, refer to => [ Valve Guide, Checking ] Testing and Inspection.
Cylinder Head Cover Bolt Tightening Sequence

- Replace the bolts.
- Hand tighten the bolts in several steps in sequence - 1 through 6 -.
- Tighten the bolts in sequence - 1 through 6 - to 8 Nm.
- Tighten the bolts in sequence - 1 through 6 - an additional 90° (1/4) turn.
• Ensure the cylinder head cover is not tilted.
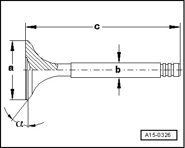
Valve Dimensions

• Intake and exhaust valves must not be refaced by grinding. Only hand lapping is permitted.
