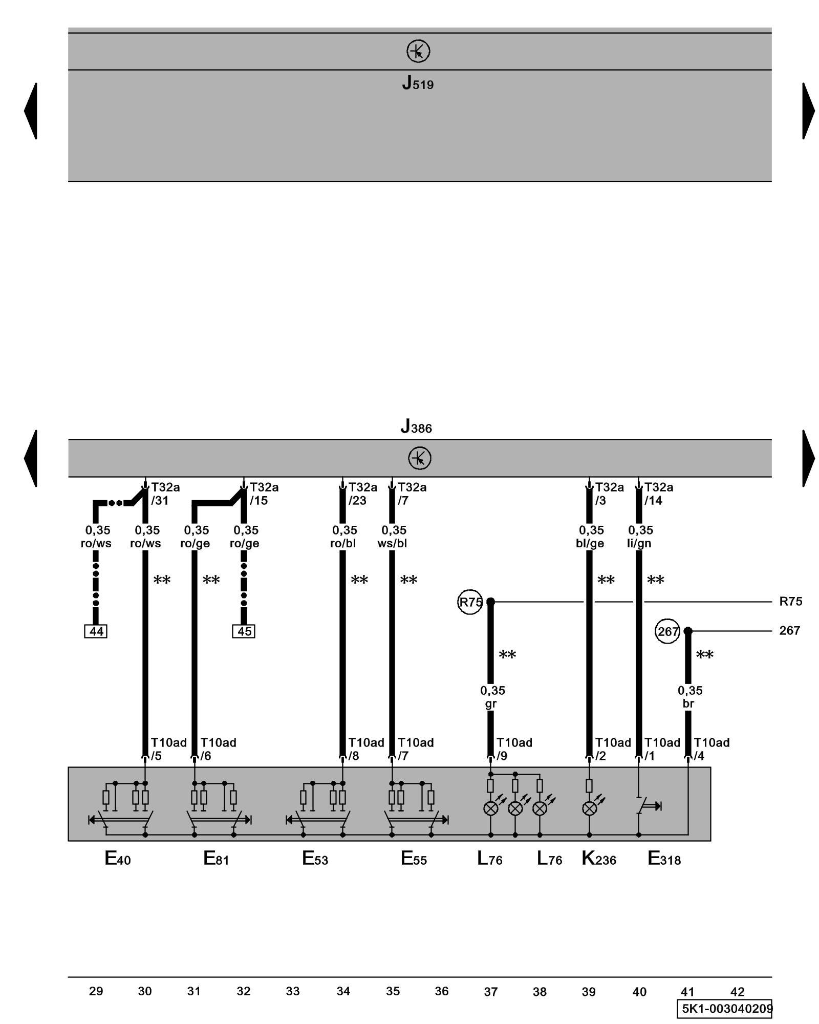
Diagram 3/4 (Tracks 29-42)
IMPORTANT NOTE:
This manufacturer uses "Track" style wiring diagrams.
For information on how to use these diagrams effectively, please refer to Diagram Information and Instructions. Diagram Information and Instructions
Driver's Door Control Module, Driver's Window Regulator Switch, Child Safety Button

ws = white
sw = black
ro = red
br = brown
gn = green
bl = blue
gr = grey
li = lilac
ge = yellow
or = orange
rs = pink
E40 - Left Front Window Regulator Switch
E53 - Driver's Left Rear Window Regulator Switch
E55 - Driver's Right Rear Window Regulator Switch
E81 - Driver's Right Front Window Regulator Switch
E318 - Child Safety Button
J386 - Driver's Door Control Module
J519 - Vehicle Electrical System Control Module Control modules in front part of vehicle - Overview of Control Modules
K236 - Active Child Safety Indicator Lamp
L76 - Push Button Illumination
T10ad - 10-Pin Connector
T32a - 32-Pin Connector
(267) - Ground Connection 2 (in driver's door wiring harness)
(R75) - Connection 1 (58d) (in door control module wiring harness)
** - Only models with rear window regulator
-^^- - Only models without rear window regulator
Previous Diagram 3/3 (Tracks 15-28)
Next Diagram 3/5 (Tracks 43-56)