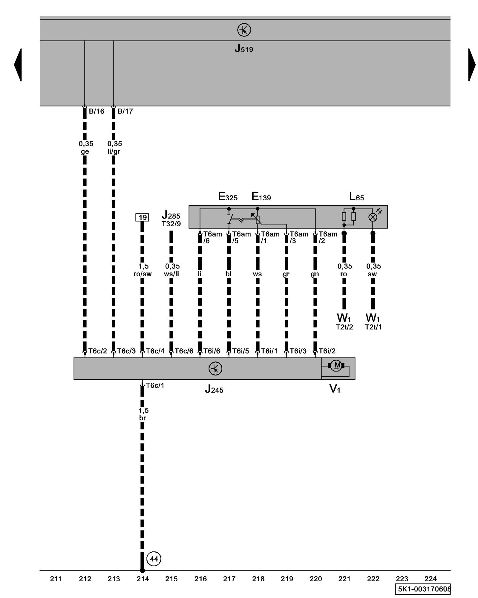
Diagram 3/17 (Tracks 211-224)
IMPORTANT NOTE:
This manufacturer uses "Track" style wiring diagrams.
For information on how to use these diagrams effectively, please refer to Diagram Information and Instructions. Diagram Information and Instructions
Power Sunroof Control Module, Sunroof Button, Sunroof Regulator

ws = white
sw = black
ro = red
br = brown
gn = green
bl = blue
gr = grey
li = lilac
ge = yellow
or = orange
rs = pink
E139 - Sunroof Regulator
E325 - Sunroof Button
J245 - Power Sunroof Control Module Locations
J285 - Instrument Cluster Control Module
J519 - Vehicle Electrical System Control Module Control modules in front part of vehicle - Overview of Control Modules
L65 - Sunroof Switch Illumination
T2t - Double Connector
T6am - 6-Pin Connector
T6c - 6-Pin Connector Overview of connector stations and connectors
T6i - 6-Pin Connector
T32 - 32-Pin Connector
V1 - Sunroof Motor Locations
(44) - Ground Connection (on left lower A-pillar) Overview Of Ground Connections in Interior
--- - Only models with power sunroof control module
Previous Diagram 3/16 (Tracks 197-210)
Next Diagram 3/18 (Tracks 225-238)