Installed Position and Tightening Torque of the Clamping Sleeve
Installed Position and Tightening Torque of the Clamping Sleeve
• Gradual introduction of clamping sleeves with a continuous clamp.
Tightening Torque and Installed Dimension of the Clamping Sleeve

- A - Clamping sleeve with 2 individual clamps
Tightening specification: 25 Nm
Installed dimension - a -: 5 mm (only for the front clamping sleeve)
- B - Clamping sleeve with a continuous clamp.
Tightening specification: 35 Nm
Installed dimension - a -: 8.5 mm (only for the front clamping sleeve)
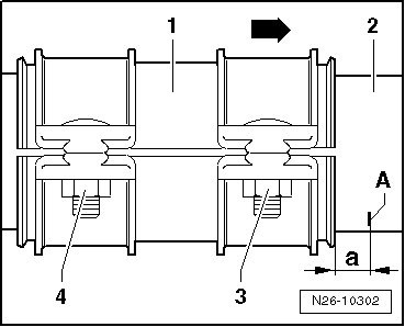
Installed Dimension - a - for Vehicles with a Mark on the Front Exhaust Pipe

1 Clamping sleeve
2 Front exhaust pipe
a Installed dimension
A Mark
Installed Position of the Front Clamping Sleeve

- Install the clamping sleeve so that the bolt end - arrow - does not project beyond the lower edge of the clamping sleeve.
• Threaded connection points toward the right.
Installed Position of the Rear Clamping Sleeve

- Install the clamping sleeve so that the bolt end - arrow - does not project beyond the lower edge of the clamping sleeve.
• Threaded connection points to the rear