Operation CHARM: Car repair manuals for everyone.

Removal and Replacement






Fuel Level Sensor G

Removing

- Remove the fuel delivery unit. Refer to => [ Fuel Delivery Unit ] Fuel Delivery Unit.

- Pull the fuel level sensor slightly to the side and upward at the same time.






- If the sensor cannot be released this way, then press the retaining tabs - arrows - back slightly.






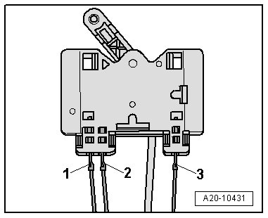
- Note the colors of the wires for installing later.

- Disconnect the wires - 1 through 3 -. Bend the hooks back.






Installing

- Connect the wires - 1 through 3 -. Pay attention to the color.






- Gently pull on the wires to make sure they are secure.

- Insert the fuel level sensor into the guide on the fuel delivery unit and push down until it engages.

- Install the fuel delivery unit. Refer to => [ Fuel Delivery Unit ] Fuel Delivery Unit.