Camshaft Position Sensor, Checking
Camshaft Position Sensor, Checking
• Use only gold-plated terminals when servicing terminals in harness connector of Camshaft Position (CMP) Sensor (G40).
Special tools, testers and auxiliary items required
• Multimeter.
• Wiring diagram.
Test requirements
• The Engine Control Module (ECM) (J623) fuses OK.
• Battery voltage at least 12.5 volts.
• All electrical consumers such as, lights and rear window defroster, switched off.
• Vehicles with automatic transmission, shift selector lever into position "P" or "N".
• A/C switched off.
• Ground connections between engine/transmission/chassis OK.
• Ignition switched Off.
Test procedure
- Perform a preliminary check to verify the customers complaint. Refer to => [ Preliminary Check ] Preliminary Check
Start diagnosis
- Remove the engine cover.
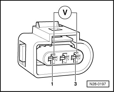
- Disconnect the Camshaft Position (CMP) Sensor (G40) electrical harness connector - 2 -.

- Switch the ignition On.
- Using a multimeter, Check the Camshaft Position (CMP) Sensor (G40) electrical harness connector terminals 1 to 3 for voltage.

Specified value: near 5.0 V
- Switch the ignition Off.
Checking wiring
- Remove the Engine Control Module (ECM) (J623). Refer to the Repair Information.
- Using a multimeter, Check the Camshaft Position (CMP) Sensor (G40) electrical harness connector to the Engine Control Module (ECM) electrical harness connector T60 for an open circuit or high resistance.


Specified value: 1.5 ohms Max.
If the specified value was Not obtained:
- Check the wiring connection for an open circuit, high resistance, short circuit to Battery positive or Ground.
- Check the wiring connection for damage, corrosion, loose or broken terminals.
- If necessary, repair the faulty wiring connection.
If no malfunction is found in the wiring and voltage supply was OK:
- Replace the Camshaft Position (CMP) Sensor (G40). Refer to the Repair Information.
If no malfunction is found in the wiring and voltage supply was Not OK:
- Replace the Engine Control Module (ECM) (J623). Refer to the Repair Information.
Final procedures
After the repair work, the following work steps must be performed in the following sequence:
1. Check the DTC memory => [ Diagnostic Mode 03 - Read DTC Memory ] Diagnostic Modes 01 - 09.
2. If necessary, erase the DTC memory => [ Diagnostic Mode 04 - Erase DTC Memory ] Diagnostic Modes 01 - 09.
3. If the DTC memory was erased, generate readiness code => [ Readiness Code ] Monitors, Trips, Drive Cycles and Readiness Codes.