MAF Sensor, Checking
MAF Sensor, Checking
• Use only gold-plated terminals when servicing terminals in harness connector of Mass Air Flow (MAF) Sensor (G70).
Special tools, testers and auxiliary items required
• Multimeter.
• Wiring diagram.
Test requirements
• The Mass Air Flow (MAF) Sensor (G70) fuse 1 in Fuse Panel C is OK.
• Battery voltage at least 12.5 volts.
• All electrical consumers such as, lights and rear window defroster, switched off.
• Vehicles with automatic transmission, shift selector lever into position "P" or "N".
• A/C switched off.
• Ground connections between engine/transmission/chassis OK.
• Coolant Temperature at least 80 °C.
• Ignition switched Off.
Test procedure
- Perform a preliminary check to verify the customers complaint. Refer to => [ Preliminary Check ] Preliminary Check
Start diagnosis
- Connect the scan tool.
- Start engine and let it run at idle.
- Using the scan tool, Check the air flow quantity of the Mass Air Flow (MAF) Sensor (G70) at idle:

If specified value is obtained, but DTC memory has a DTC concerning Mass Air Flow (MAF) Sensor (G70):
- Fault may be intermittent. Check the electrical harness connector for damage, corrosion, loose or broken terminals.
If the specified value was Not obtained:
Checking voltage supply
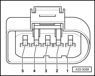
- Disconnect the Mass Air Flow (MAF) Sensor (G70) electrical harness connector - 1 -.

- Start the engine and let it run at idle.
- Using a multimeter, check the Mass Air Flow (MAF) Sensor (G70) electrical harness connector terminal 3 to engine Ground.

Specified value: Battery voltage.
- Switch the ignition Off.
If the specified value was Not obtained:
- Remove the fuse 1 in Fuse Panel C. Check the Mass Air Flow (MAF) Sensor (G70) electrical harness connector terminal 3 to fuse 1 in Fuse Panel C for an open circuit.
Specified value: 1.5 ohms max.
If the specified value was obtained:
Checking electrical circuit
- Remove the Motronic Engine Control Module (ECM) (J623). Refer to the Repair Information.
- Using a multimeter, check the Mass Air Flow (MAF) Sensor (G70) electrical harness connector terminals to the Motronic Engine Control Module (ECM) (J623) electrical harness connector T94 terminals for resistance.


Specified value: 1.5 ohms max.
If the specified value was Not obtained:
- Check the wiring for an open, high resistance or short to ground.
- Check the electrical harness connector for damage, corrosion, loose or broken terminals.
- If necessary, repair the faulty wiring connection.
If no malfunction is detected in the wiring and the voltage supply was OK:
- Replace Mass Air Flow (MAF) Sensor (G70). Refer to the Repair Information.
Final procedures
After the repair work, the following work steps must be performed in the following sequence:
1. Check the DTC memory. Refer to => [ Diagnostic Mode 03 - Read DTC Memory ] Diagnostic Modes 01 - 09.
2. If necessary, erase the DTC memory. Refer to => [ Diagnostic Mode 04 - Erase DTC Memory ] Diagnostic Modes 01 - 09.
3. If the DTC memory was erased, generate readiness code. Refer to => [ Readiness Code ] Monitors, Trips, Drive Cycles and Readiness Codes.