Flat Connector Systems
Flat Connector Systems
• If necessary, housing securing mechanisms (secondary locks) must be released or removed using specified tool before releasing the contacts. Refer to => [ Secondary Lock ] Secondary Lock.
Flat Connector System With One Retaining Tab

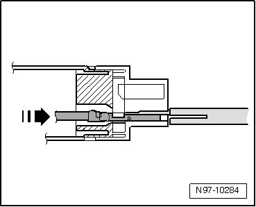
- Guide the release tool which fits the terminal housing into release channel on terminal housing.
- Grasp contact at wire and push it gently into terminal housing - arrow -.
• By pushing the contact in the direction of the terminal housing, the contact retaining tab is lifted off the housing shoulder and can be released using the release tool.
- At the same time, push release tool in direction of terminal housing and pull the released contact out of terminal housing - arrow -.

- After removing the contact, release tool can be pulled out of terminal housing again.
Flat Connector System With Two Retaining Tabs

- Guide the release tool which fits the terminal housing into release channel on terminal housing.
- Grasp contact at wire and push it gently into terminal housing until it stops - arrow -.
• By pushing the contact in the direction of the terminal housing, the contact retaining tabs are lifted off the housing shoulder and can be released using the release tool.
- At the same time, push release tool in direction of terminal housing and pull the released contact out of terminal housing - arrow -.

- After removing the contact, release tool can be pulled out of terminal housing again.
Asymmetrical

- Guide the release tool which fits the terminal housing into release channel on terminal housing.
- Grasp contact at wire and push it gently into terminal housing - arrow -.
• By pushing the contact in the direction of the terminal housing, the contact retaining tabs are lifted off the housing shoulder and can be released using the release tool.
- At the same time, push release tool in direction of terminal housing and pull the released contact out of terminal housing - arrow -.

- After removing the contact, release tool can be pulled out of terminal housing again.