Strut Mount: Service and Repair
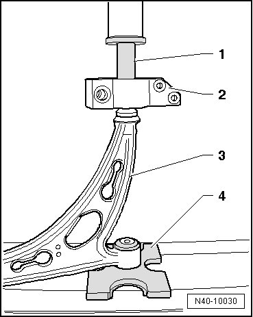
Mounting Bracket with Control Arm Bearing
Special tools, testers and auxiliary items required
• Guide piece (VW 439)
• Thrust plate (VW 401)
• Thrust plate (VW 402)
• Sleeve (VW 418 A)
Pressing Off Mounting Bracket with Bearing for Control Arm
Bonded rubber bushing is available as a replacement part only with the mounting bracket.
- Press mounting bracket with bonded rubber bushing off control arm.
• Hold control arm firmly while pressing out.

1. (VW 401)
2. (VW 439)
3. (VW 402)
Pressing On Mounting Bracket with Bearing on Control Arm
- Thinly coat control arm hex head with installation lubricant (G 294 421 A1) (1:20).
- Carefully press bearing onto control arm as far as stop.

1. (VW 418 A)
2. Mounting bracket with bonded rubber bushing
3. Control arm
4. (VW 401)