Operation CHARM
: Car repair manuals for everyone.
Home
>>
Volkswagen
>>
2012
>>
GTI (5K1) L4-2.0L Turbo (CBFA)
>>
Repair and Diagnosis
>>
Accessories and Optional Equipment
>>
Cellular Phone
>>
Cellular Phone Transceiver
>>
Locations
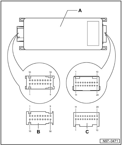
Cellular Phone Transceiver: Locations
Control modules in rear part of vehicle
Telephone transceiver -R36-
Component Location:
Below front right seat -Arrow-
Pin Arrangements:
A - Telephone transceiver -R36-
Connector:
B - 18-pin connector -T18b-