Powertrain Overview
Powertrain Overview
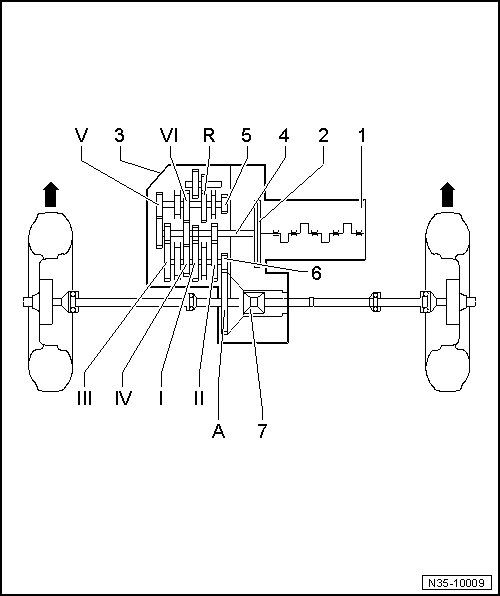
Component
The - arrows - point in the direction of travel.

1 Engine
2 Clutch
3 Manual Transmission
4 Input Shaft
5 Output Shaft for 5th, 6th and Reverse Gears (Output Shaft II)
6 Output Shaft for 1st to 4th Gears (Output Shaft I)
7 Differential
Gears
The - arrows - point in the direction of travel.

I - 1st Gear
II - 2nd Gear
III - 3rd Gear
IV - 4th Gear
V - 5th Gear
VI - 6th Gear
R - Reverse Gear
A - Final Drive