Selector Forks
Selector Forks
Special tools, testers and auxiliary items required
• Thrust Plate (VW 402)
• Punch (VW 411)
• Tube Trans. Drive Shaft (VW 426)
• Thrust Pad 16.5/28 mm Dia. (VW 431)
• Kukko Extractor 18.5-23.5 mm (21/3)
• Kukko Support (22/1)

1 Insulation Mat
• Can be removed and installed by hand.
2 Selector Shaft with Selector Fork for 1st and 2nd Gears
3 Selector Shaft with Selector Fork for 3rd and 4th Gears
4 Selector Shaft with Selector Fork for 5th and 6th Gears
• On some transmissions, is also for the reverse gear selector fork bearing.
5 Reverse Gear Selector Fork
• On the shaft for the reverse gear selector fork. Refer to => [ The reverse gear selector fork is mounted on the axle behind the 5th and 6th gear selector shaft. ] Transmission, With a Sealing Cap Lock Ring.
• From transmission build date 6 March 2006, the ball sleeve - item 6 - has been omitted.
• Sliding omission.
• Reverse gear selector fork is adapted.
• If the shaft for the reverse gear selector fork is deleted, then mounted on the selector shaft or the 5th and 6th gear selector fork. Refer to => [ The reverse gear selector fork is mounted on the selector shaft with the 5th and 6th gear selector fork. ] Transmission, With a Sealing Cap Lock Ring.
• Reverse gear selector fork differentiation. Refer to => [ Reverse Gear Selector Fork Differentiation ].
• Refer to the Parts Catalog.
6 Ball Sleeve
• Removing, refer to => [ Through Transmission Build Date 5 March 2006 - Remove the Reverse Gear Selector Fork Ball Sleeve ].
• Installing, refer to => [ Through Transmission Build Date 5 March 2006 - Pressing in Reverse Gear Selector Fork Ball Sleeve ].
• From transmission build date 6 March 2006, the ball sleeve has been omitted.
• Sliding omission.
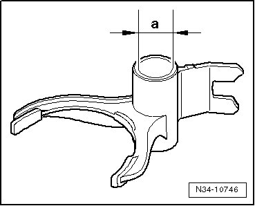
Reverse Gear Selector Fork Differentiation


Through Transmission Build Date 5 March 2006 - Remove the Reverse Gear Selector Fork Ball Sleeve

A Internal puller 18 to 23 mm, for example, Kukko extractor 18.5-23.5 mm (21/3)
B Counter support, for example, Kukko support (22/1)
Through Transmission Build Date 5 March 2006 - Pressing in Reverse Gear Selector Fork Ball Sleeve
