Anti-Lock Brake System (ABS)
Anti-lock Brake System (ABS)
The following ABS versions are installed in this vehicle:
• ABS Mark 70
• ABS Mark 60 EC with integrated Electronic Stabilization Program (ESP) sensor unit
The ABS brake system is divided diagonally into two circuits. The vacuum brake servo unit boosts the brakes pneumatically.
Models with ABS do not have a mechanical brake pressure regulator. A specially coordinated software program in the control module determines brake pressure allocation at the rear axle.
ABS malfunctions do not affect the brake system and the booster. Conventional brake systems stays operative even without ABS. A change in braking behavior should be checked. When the ABS indicator lamp is on, the rear wheels may lock prematurely during braking!
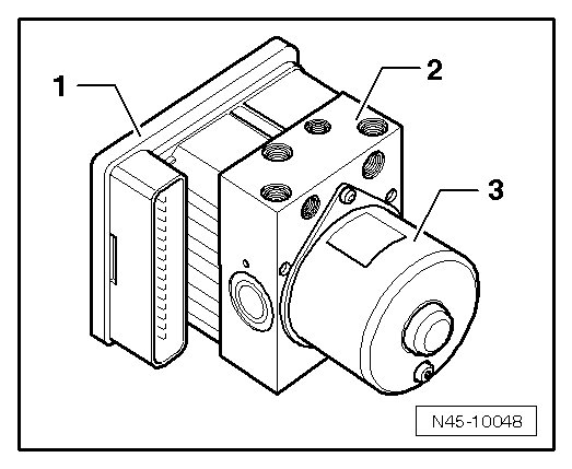
ABS layout:

1 Hydraulic unit and control module
2 Brake booster
The control module - 1 - and hydraulic unit - 2 - comprise a single unit. Separation can only be performed when removed from vehicle. The hydraulic pump - 3 - must not be separated from the hydraulic unit.
